Sign In | Join Free | My wneducation.com
China Guangzhou Anto Machinery Parts Co.,Ltd. logo
Guangzhou Anto Machinery Parts Co.,Ltd.
Professional supplier of spare parts for your construction machiney maintenance!
Verified Supplier

9 Years

Home > Excavator Electric Parts >

125-2966 1252966 Revolution Speed Sensor For 320B 3066 Engine Electric Parts

Guangzhou Anto Machinery Parts Co.,Ltd.
Trust Seal
Verified Supplier
Credit Check
Supplier Assessment
Contact Now

125-2966 1252966 Revolution Speed Sensor For 320B 3066 Engine Electric Parts

Brand Name : OEM

Model Number : 320B

Place of Origin : China

MOQ : 1 PCS

Price : Negotiable

Payment Terms : L/C, D/A, D/P, T/T, Western Union, MoneyGram

Supply Ability : 100-2000

Delivery Time : 3-7 working days

Packaging Details : Wooden box for heavy parts, paper carton for light parts

Category : Excavator electric parts

Parts number : 125-2966 1252966

Model : 312B 315B 318B 320B

Engine model : 3054 3066

Packing : Wood box, standard carton, pallet

Item condition : Brand new, OEM quality

Contact Now

  • 125-2966 1252966 Revolution Speed Sensor For 320B 3066 Engine Electric Parts

  • Product description

Parts Name Speed Sensor
Application

Excavator 320B 318B 317B 315B 312B

Category Excavator electric parts
Item Condition Unused, undamaged, brand new

  • More other sensors applicable
1059911 SENSOR GP-LIQUID LEVEL
307B, 307C, 311B, 311C, 312B, 312B L, 313B, 315B, 315B FM L, 315B L, 317B LN, 318B, 320B, 320B FM LL, 320B U, 320C, 321B, 322B LN, 325B, 325B L, 325C, 330B, 345B, 345B II, 345B II MH, 345B L, 365B, 36...
1060178 SENSOR AS-PRESSURE
311B, 312B, 312B L, 315B, 315B FM L, 315B L, 317B LN, 318B, 320B, 320B FM LL, 320B U, 322B, 322B L, 322B LN, 325B, 325B L, 330B, 330B L, 345B, 345B II, 345B II MH, 345B L, 365B, 365B II, 365B L, 385B,...
1339014 SENSOR-TEMPERATURE
312B L, 312C, 315B L, 315C, 317B LN, 318B, 318C, 320B, 322B L, 322B LN, 322C, 322C FM, 325B L, 325C, 325C FM, 330B L, 330C FM, 330C L, 330C MH, 345B, 345B II, 345B II MH, 345B L, 365B, 365B II, 385B, ...
1282162 SENSOR GP-LIGHT
311B, 312B, 312B L, 315B L, 317B LN, 318B, 320B, 320B FM LL, 320B L, 322B L, 322B LN, 325B, 325B L, 330B L, 345B, 345B II, 345B II MH, 345B L, 365B, 365B L, 385B, 5110B, M325B, W330B, W345B II
1282163 SENSOR-TEMPERATURE
311B, 312B, 312B L, 315B L, 318B, 320B, 320B L, 322B L, 322B LN, 325B, 325B L, 330B L, 345B II, 345B L, 365B, 365B L, 385B
1470387 SENSOR AS-TEMPERATURE
312B L, 312C, 315B L, 315C, 317B LN, 318B, 318C, 320B, 322B L, 322B LN, 322C, 322C FM, 325B L, 325C, 325C FM, 330B L, 330C FM, 330C L, 330C MH, 345B, 345B II, 345B II MH, 345B L, 365B, 365B II, 385B, ...
1573182 SENSOR AS-PRESSURE
312C, 312C L, 314C, 315B L, 315C, 317B LN, 318B, 318C, 320C, 320C FM, 321B, 322C, 322C FM, 325C, 325C FM, 330C, 330C FM, 330C L, 330C MH, 365B, 385B, 5090B
1352336 SENSOR-TEMPERATURE
311B, 312B, 315B, 315C, 317B LN, 318B, 320B, 320B L, 321B
1470386 SENSOR-TEMPERATURE
312C, 315C, 318B, 322B L, 322C FM, 325B L, 325C FM, 330B L, 330C FM, 345B, 345B II, 345B II MH, 345B L, 365B, 365B II, 385B, 5110B, M325B, W330B, W345B II
1474823 SENSOR AS-TEMPERATURE
311B, 312B, 312C, 312C L, 315C, 318B, 318C, 319C, 320B, 320C, 320C FM, 320C L, 322C, 325B, 325C, 330C, 330C L, 345B II, 365B, 365B L, 385B
1474824 SENSOR AS
312B, 318B, 320B
1515280 SENSOR
315B
1470386 SENSOR-TEMPERATURE
312C, 315C, 318B, 322B L, 322C FM, 325B L, 325C FM, 330B L, 330C FM, 345B, 345B II, 345B II MH, 345B L, 365B, 365B II, 385B, 5110B, M325B, W330B, W345B II
1352336 SENSOR-TEMPERATURE
311B, 312B, 315B, 315C, 317B LN, 318B, 320B, 320B L, 321B
1573182 SENSOR AS-PRESSURE
312C, 312C L, 314C, 315B L, 315C, 317B LN, 318B, 318C, 320C, 320C FM, 321B, 322C, 322C FM, 325C, 325C FM, 330C, 330C FM, 330C L, 330C MH, 365B, 385B, 5090B
1470387 SENSOR AS-TEMPERATURE
312B L, 312C, 315B L, 315C, 317B LN, 318B, 318C, 320B, 322B L, 322B LN, 322C, 322C FM, 325B L, 325C, 325C FM, 330B L, 330C FM, 330C L, 330C MH, 345B, 345B II, 345B II MH, 345B L, 365B, 365B II, 385B, ...
1282163 SENSOR-TEMPERATURE
311B, 312B, 312B L, 315B L, 318B, 320B, 320B L, 322B L, 322B LN, 325B, 325B L, 330B L, 345B II, 345B L, 365B, 365B L, 385B
1282162 SENSOR GP-LIGHT
311B, 312B, 312B L, 315B L, 317B LN, 318B, 320B, 320B FM LL, 320B L, 322B L, 322B LN, 325B, 325B L, 330B L, 345B, 345B II, 345B II MH, 345B L, 365B, 365B L, 385B, 5110B, M325B, W330B, W345B II
1337937 SENSOR
307C, 311C, 320C
1677083 SENSOR AS
307C, 308C, 311C, 312C, 312C L, 314C, 315C, 318C, 319C, 320C, 320C FM, 320C L, 321C, 322C, 322C FM, 325C, 325C FM, 330C, 330C FM, 330C L, 330C MH, M313C, M315C, M316C, M318C, M318C MH, M322C, M325C MH...
1761917 SENSOR GP-TEMPERATURE
307C, 308C, 311C, 312C, 312C L, 314C, 315C, 318C, 319C, 320C, 320C FM, 320C L, 321C, 322C, 325C, 330C, 330C L
1474824 SENSOR AS
312B, 318B, 320B
1474823 SENSOR AS-TEMPERATURE
311B, 312B, 312C, 312C L, 315C, 318B, 318C, 319C, 320B, 320C, 320C FM, 320C L, 322C, 325B, 325C, 330C, 330C L, 345B II, 365B, 365B L, 385B
2382227 SENSOR AS-FUEL LEVEL
305.5, 306, 307B, 307C, 311C, 320C, 320D LRR, 320D RR, 325C, 345B II

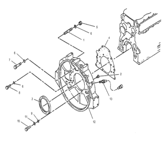
  • Parts list diagram
Pos. Part No Qty Parts name Comments
1 5I-4983 [2] STUD
2 5I-7607 [1] PLUG
3 185-9110 [1] SEAL AS
4 5I-7661 [1] GASKET
5 6V-8231 M [2] NUT (M10X1.25-THD)
6 7X-0796 [12] LOCKWASHER
7 8T-4136 M [2] BOLT (M10X1.5X25-MM)
8 8T-4195 M [8] BOLT (M10X1.5X30-MM)
9 8T-4224 [4] WASHER-HARD (8.8X16X2-MM THK)
10 8T-7547 M [4] BOLT (M8X1.25X30-MM)
11 3B-4505 [4] LOCKWASHER
12 125-2965 [1] HOUSING
13 125-2966 [1] SENSOR GP-SPEED
M METRIC PART

125-2966 1252966 Revolution Speed Sensor For 320B 3066 Engine Electric Parts

  • Other excavator parts we can supply
Undercarriage parts track chain, track shoe/pad, track roller, carrier roller, front idler, Sprocket, track recoil spring
Engine parts Engine assembly, cylinder block, cylinder head, gasket kit, liner kit, fuel pump, water pump, oil pump, fuel injector, Exhaust Intake manifold, Turbocharger
Hydraulic parts Hydraulic pump, Hydraulic motor, Main Control Valve, Hydraulic boom bucket stick cylinder
GET Parts Bucket, tooth, Breaker..
Filter Air filter, hydraulic filter, oil filter, fuel filter, pilot filter
Electric parts CPU Controller, wire harness, sensor, accel motor…
Gearbox system Final drive, swing gearbox, travel motor, swing motor, slewing bearing

125-2966 1252966 Revolution Speed Sensor For 320B 3066 Engine Electric Parts

  • How to order?

1. Customers offer the part number, part name, model, quantity, data of items, delivery address and term.

2. Best price is given concerning to your inquiry

3. Order is confirmed between you and us, and order is paid

4.Goods is in production and packing process

5.Customers make the payment according to the Proforma Invoice once the goods get ready for delivery.

6. We deliver the goods with the packing list, commercial invoice, B/L and other documents requested.

7.Track the transport and arrival about the goods.

8. Your feedback over the arrival of goods are recommended to be given.

  • How warranty goes?

1. Parts with quality problem can be replaced


2. Warranty Period:

Warranty of 3/6/12 Months given according to the parts type and quality standard


3. Warranty do not cover for below:


* Wrong Order from customer.


* Natural Disasters cause the damage.


* Error installation.


* The machine and the parts work over time and over load.


* Lost by any condition.


* Human element destroyed.


* Corrode with rust during stock and running.


* Warranty Expired.


Product Tags:

1252966 Revolution Speed Sensor

      

320B Revolution Speed Sensor

      
Buy cheap 125-2966 1252966 Revolution Speed Sensor For 320B 3066 Engine Electric Parts product

125-2966 1252966 Revolution Speed Sensor For 320B 3066 Engine Electric Parts Images

Inquiry Cart 0
Send your message to this supplier
 
*From:
*To: Guangzhou Anto Machinery Parts Co.,Ltd.
*Subject:
*Message:
Characters Remaining: (0/3000)